Texas Instruments TPS92360 LED Backlight Driver

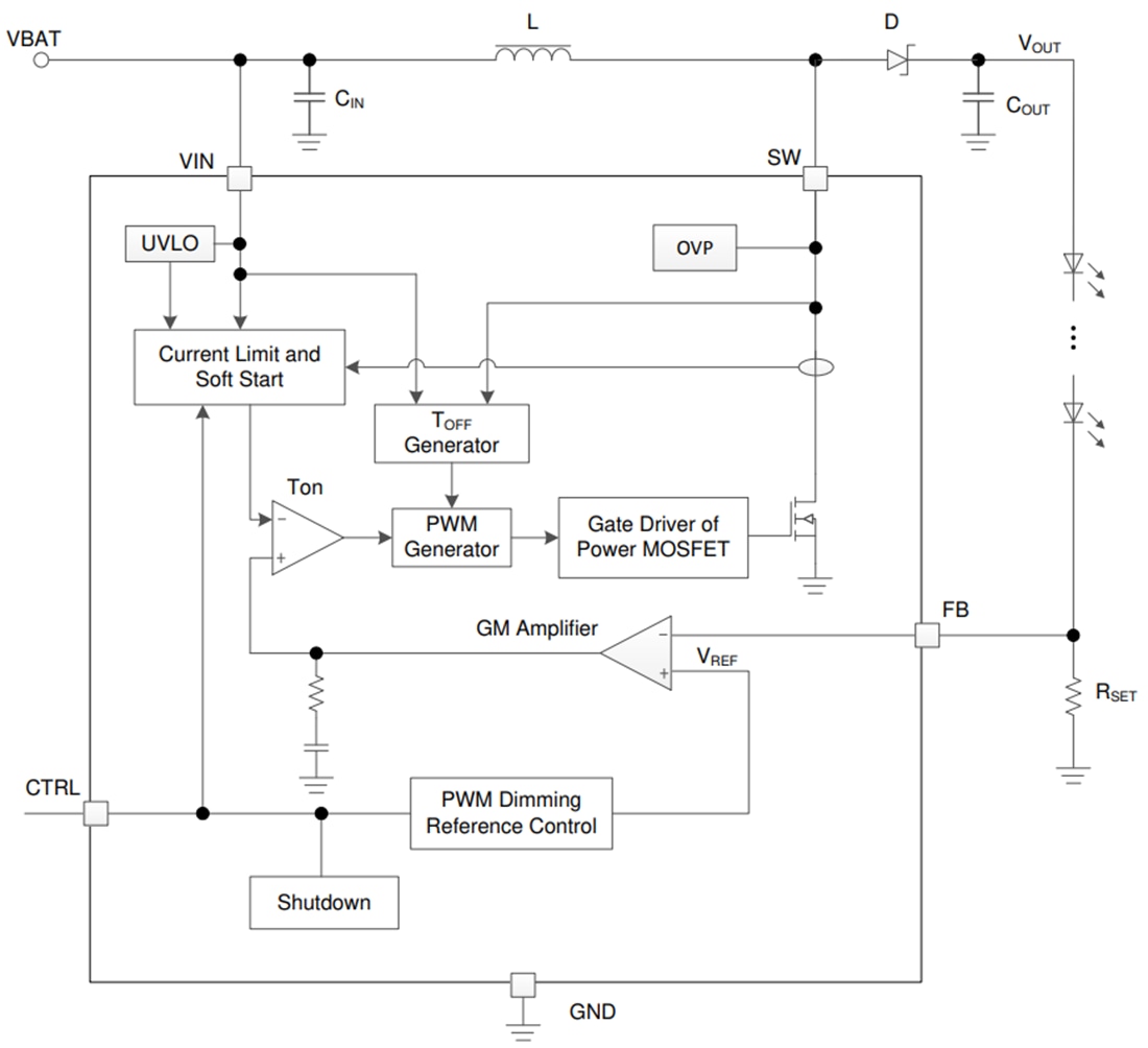
Texas Instruments TPS92360 LED Backlight Driver comes with a 40V rated integrated switch FET and is a boost converter that drives LEDs in series. The boost converter has a 40V, 1.8A internal MOSFET with a minimum 1.2A current limit; thus it can drive single or parallel LED strings for small- to large-size panel backlighting. The default white LED current is set with the external sensor resistor, RSET, and the feedback voltage is regulated to 204mV. During the operation, the LED current can be controlled by using a pulse width modulation (PWM) signal applied to the CTRL pin, through which the duty cycle determines the feedback reference voltage. The TPS92360 does not burst the LED current; therefore, it does not generate audible noises on the output capacitor. For maximum protection, the device features integrated open LED protection that disables the TPS92360 to prevent the output voltage from exceeding the absolute maximum voltage ratings of the device during open LED conditions. The Texas Instruments TPS92360 is available in a space-saving 5-pin SC70 package.

Features

  • 2.7V to 5.5V input voltage
  • Integrated 40V, 1.8A MOSFET
  • Drives LED string up to 38V
  • 1.2A minimum switch current limit
  • 1.2MHz switching frequency
  • 204mV reference voltage
  • Internal compensation
  • PWM brightness control
  • Open LED protection
  • Undervoltage protection
  • Built-in soft-start
  • Thermal shutdown
  • Up to 90% efficiency

Applications

  • Smartphone backlighting
  • Tablet backlighting
  • PDAs, handheld computers, GPS receivers
  • Portable media players, portable TVs
  • White LED backlighting for small and media form factor displays
  • Handheld data terminals (EPOS)
  • Handheld medical equipment
  • Thermostat display
  • Blood glucose meters
  • Flashlights
  • Refrigerators and ovens

Functional Block Diagram

Block Diagram - Texas Instruments TPS92360 LED Backlight Driver
Publicado: 2021-05-20 | Actualizado: 2022-03-11