Texas Instruments TPS2410/11 N+1 and ORing Power Rail Controllers

Texas Instruments TPS2410/11 N+1 and ORing Power Rail Controllers emulate the function of a low forward-voltage diode in conjunction with an external N-channel MOSFET. The device combines multiple power supplies to a common bus in an N+1 configuration or combines redundant input power buses. The TPS2410 delivers a linear turn-on control while the TPS2411 offers an on/off control method. Applications with either N+1 redundant power supplies, redundant power buses, or both are ideal for the TPS2410/11. These redundant power sources must have the equivalent of a diode OR to prevent reverse current during faults and hotplug. This function is achieved with less power loss than a Schottky diode by combining the Texas Instruments TPS2410/11 and an N-channel MOSFET. A wide range of implementations and bus characteristics are customized through accurate voltage sensing, programmable fast turn-off threshold, and input filtering.

Features

  • Control External FET for N+1 and ORing
  • Wide Supply Voltage Range of 3V to 16.5V
  • Controls Buses From 0.8V to 16.5V
  • Linear or On/Off Control Method
  • Internal Charge Pump for N-Channel MOSFET
  • Rapid Device Turnoff Protects Bus Integrity
  • Positive Gate Control on Hot Insertion
  • Soft Turn-on Reduces Bus Transients
  • Input Voltage Monitoring
  • Shorted Gate Monitor
  • MOSFET Control-State Indicator
  • -40°C to 85°C Industrial Temperature Range
  • Industry-Standard 14-Pin TSSOP Package

Applications

  • N+1 Power Supplies
  • Server Blades
  • Telecom Systems
  • High Availability Systems

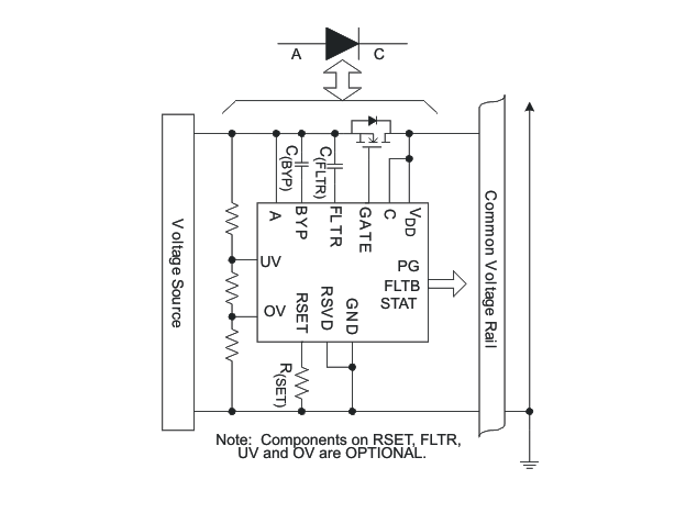
Block Diagram

Block Diagram - Texas Instruments TPS2410/11 N+1 and ORing Power Rail Controllers
Publicado: 2008-02-26 | Actualizado: 2022-03-11