Texas Instruments OPAx191 36V E-trim Operational Amplifiers

Texas Instruments OPAx191 36V E-trim Operational Amplifiers offer outstanding dc precision and ac performance. This includes rail-to-rail input/output, low offset (±5µV, typ.), low offset drift (±0.2µV/°C, typ.), and 2MHz bandwidth. These amplifiers have unique features such as differential input voltage range to the supply rail and high output current (±65mA). They also include high capacitive load drive of up to 1nF and high slew rate (5V/µs). This makes the OPAx191 a robust, high-performance operational amplifier that is ideal for high-voltage industrial applications. These devices are available in single (OPA191), dual (OPA2191) and quad (OPA4191) packages.

Features

  • ±5µV Low offset voltage
  • ±0.1µV/°C Low offset voltage drift
  • 15nV/√Hz at 1kHz Low noise
  • 140dB High common-mode rejection
  • ±5pA Low bias current
  • Rail-to-rail input and output
  • 2.5MHz GBW wide bandwidth
  • 5V/µs High slew rate
  • 140µA per Amplifier low quiescent current
  • ±2.25V to ±18V, 4.5V to 36V Wide supply
  • EMI/RFI Filtered inputs
  • Differential input voltage range to supply rail
  • 1nF High capacitive load drive capability

Applications

  • Multiplexed data-acquisition systems
  • Test and measurement equipment
  • High-resolution ADC driver amplifiers
  • SAR ADC Reference buffers
  • Programmable logic controllers
  • High-side and low-side current sensing
  • High precision comparator

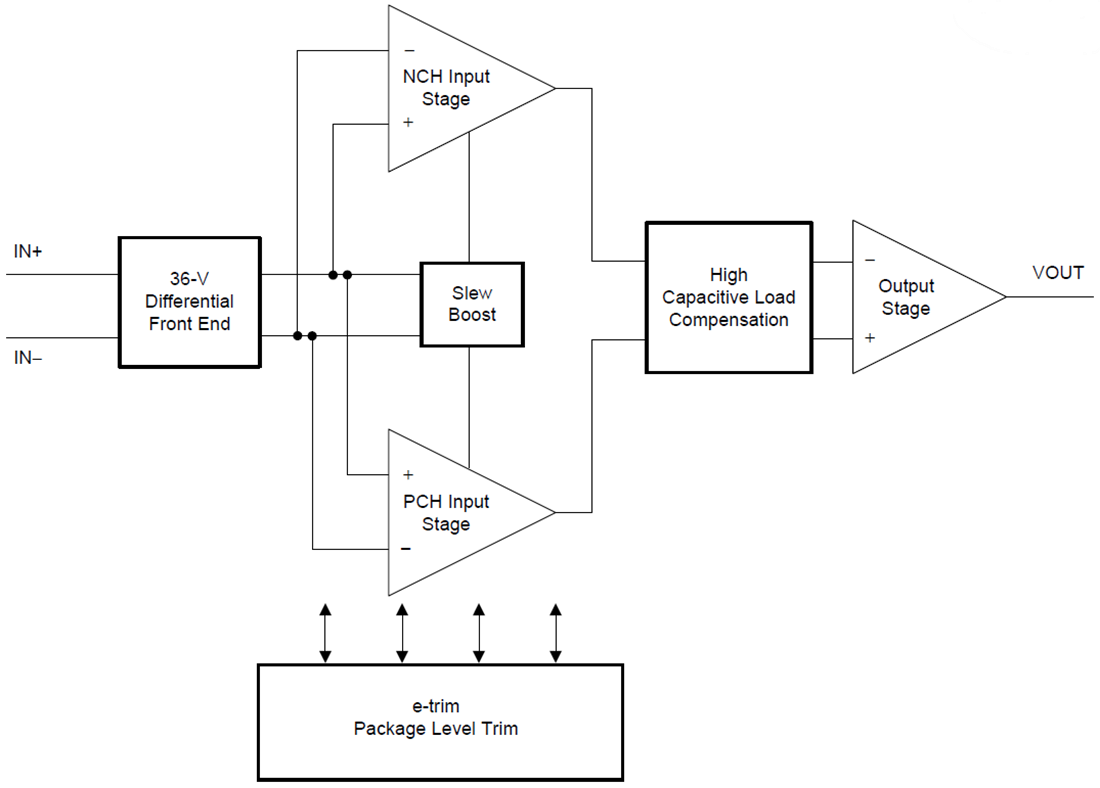
Functional Block Diagram

Block Diagram - Texas Instruments OPAx191 36V E-trim Operational Amplifiers
Publicado: 2016-04-11 | Actualizado: 2024-01-05