Texas Instruments AWR1443 76GHz to 81GHz Automotive Radar Sensor
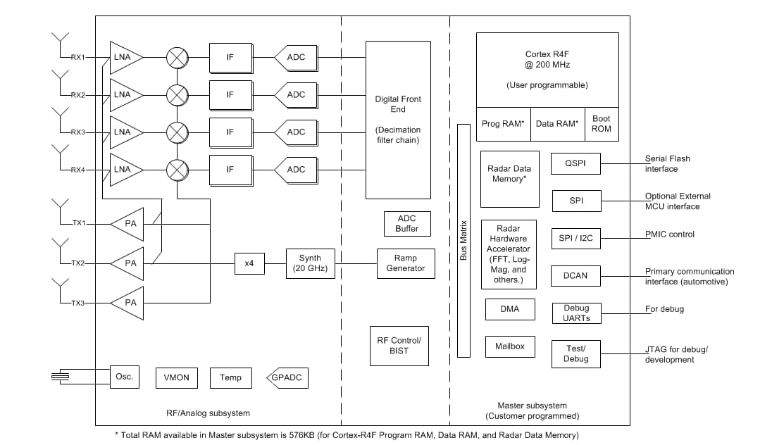
Texas Instruments AWR1443 Single-chip 76GHz to 81GHz Automotive Radar Sensor offers an integrated single-chip FMCW with unprecedented levels of integration in an extremely small form factor. The device is built with TI’s low-power 45nm RFCMOS process with an integrated ARM R4F processor and a hardware accelerator for radar data processing. The AWR1443 is an ideal solution for low-power, self-monitored, ultra-accurate radar systems in the automotive space. The AWR1443 enables a monolithic implementation of a 3TX, a 4RX system with built-in PLL and A2D converters. Simple programming model changes can enable a wide variety of sensor implementation (Short, Mid, Long) with the possibility of dynamic reconfiguration for implementing a multimode sensor. The device is provided as a complete platform solution including reference hardware design, software drivers, sample configurations, API guide, and user documentation. The AWR1443 can be viewed as a 77GHz radar-on-a-chip solution for entry-level radar applications.Features
- FMCW Transceiver
- Integrated PLL, transmitter, receiver, baseband, and A2D
- 76GHz to 81GHz Coverage with 4GHz available bandwidth
- Four receive channels
- Three transmit channels (two can be used simultaneously)
- Ultra-Accurate Chirp Engine Based on Fractional-N PLL
- 12dBm TX Power
- RX Noise figure:
- 14dB (76GHz to 77GHz)
- 15dB (77GHz to 81GHz)
- Phase noise at 1MHz:
- –94dBc/Hz (76GHz to 77GHz)
- –91dBc/Hz (77GHz to 81GHz)
- On-chip programmable core for embedded user application
- Integrated Cortex®-R4F microcontroller clocked at 200MHz
- On-chip bootloader supports autonomous mode (loading user application from QSPI Flash memory)
- Integrated peripherals
- Internal memories with ECC
- Radar hardware accelerator (FFT, Log-magnitude computations, and others)
- Integrated timers (Watchdog and up to four 32-bit or two 64-bit timers)
- I2C (Master and slave modes supported)
- Two SPI Ports
- CAN Port
- Up to six general-purpose ADC ports
- High-speed data interface to support distributed applications (namely, intermediate data)
- Host interface
- Control interface with external processor over SPI
- Interrupts for fault reporting
- AECQ100 Qualified
- AWR1443 Advanced features
- Embedded self-monitoring with no host processor involvement
- Complex baseband architecture
- Embedded interference detection capability
- Power management
- Built-in LDO network for enhanced PSRR
- I/Os Support dual voltage 3.3V/1.8V
- Clock source
- Supports externally driven clock (Square/Sine) at 40MHz
- Supports 40MHz Crystal Connection with Load Capacitors
- Easy hardware design
- 0.65mm Pitch, 161-Pin 10.4mm × 10.4mm Flip-chip BGA package for easy assembly and low-cost PCB design
- Small solution size
- Supports automotive temperature operating range
- Built-in calibration and self-test
- ARM® Cortex®-R4F-Based radio control system
- Built-in firmware (ROM)
- Self-calibrating system across frequency and temperature
Applications
- Proximity sensing
- Parking assistance
- Occupancy detection
- Simple gesture recognition
- Car door opener applications
Block Diagram
Publicado: 2018-12-17
| Actualizado: 2023-07-24
