STMicroelectronics ST1VAFE3BX Biosensor with vAFE

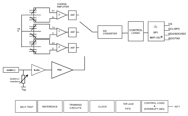
STMicroelectronics ST1VAFE3BX Biosensor with a vertical analog-front-end (vAFE) detects biopotential signals and has a high-performance 3-axis digital accelerometer for motion tracking. The ST1VAFE3BX from STMicroelectronics is designed to be compact, low-noise, and low-power, with a configurable input impedance. The vAFE reads analog signals that complement motion data, synchronizing signals for low-latency, context-aware edge analysis. Its easy integration allows the vAFE and accelerometer to process data independently in the MEMS sensor, offloading tasks from the microcontroller. Advanced features include a finite state machine (FSM), adaptive self-configuration (ASC), and a machine learning core (MLC) for signal processing and exportable AI filters.

Features

  • Dual channels for biopotential signal detection and motion tracking
  • 1.62V to 3.6V supply voltage range
    • Independent IO supply (1.62V to 3.6V) for I2C and SPI interfaces
    • Independent IO supply (extended range 1.08V to 3.6V) for MIPI I3C® interface
  • Ultra-low supply current at 50µA (typ.) with 2.2µA power-down
  • Biopotential signal detection channel with analog hub
    • Single-channel, differential input amplifier (vAFE)
    • Programmable gain and input impedance
    • 12-bit ADC resolution
    • ODR up to 3200Hz when using the analog hub / vAFE channel only
  • Accelerometer channel
    • Low noise down to 220µg/√Hz
    • ±2g/±4g/±8g/±16g programmable full-scale
    • ODR from 1.6Hz to 800Hz
  • Embedded machine learning core for analog hub / vAFE data up to 1.6kHz
  • Programmable finite state machine for analog hub / vAFE data up to 1.6kHz
  • Adaptive self-configuration (ASC) based on the sensor processing output (FSM / MLC)
  • Embedded FIFO of up to 128x samples of accelerometer and analog hub / vAFE data or 256x samples of accelerometer data at low resolution
  • High-speed I2C/SPI/MIPI I3C digital output interface
  • Advanced pedometer, step detector, and step counter
  • Self-test
  • 2.0mm x 2.0mm x 0.74mm (max), LGA 12-lead package
  • 10000g high shock survivability
  • ECOPACK and RoHS compliant

Applications

  • Biopotential signal detection (ENG, ECG, EEG)
  • Wearable and portable devices
  • Activity tracking and well-being

Videos

Block Diagram

Block Diagram - STMicroelectronics ST1VAFE3BX Biosensor with vAFE
Publicado: 2024-09-06 | Actualizado: 2025-05-08