Skyworks Solutions Inc. SKY66405-11 2.4GHz RF Front-End Module
Skyworks Solutions Inc. SKY66405-11 2.4GHz RF Front-End Module is a high-performance module designed for Zigbee®, Thread, and BLUETOOTH® applications. This front-end module provides a power amplifier, low-noise amplifier, low-loss bypass path, transmit/receive switches, and digital controls. The SKY66405-11 module from Skyworks features sleep mode current and fast switch on/off time. This front-end module includes an integrated PA with 13dBm output power and an integrated LNA and bypass path. The SKY66405-11 operates at -40°C to +105°C temperature range. This front-end module functions with 1.7V to 3.6V supply voltage. The SKY66405-11 is ideal for use in smart thermostats, sensors, range extender, wireless audio, and smart lighting.Features
- Integrated PA with +13 dBm output power
- Integrated LNA and bypass path
- Single-ended transmit/receive interface
- Fast switch on/off time
- <1μA sleep mode current
- Low-noise amplifier
- Power amplifier
- Digital controls
Applications
- In-home appliances
- Smart thermostats
- Internet of Things (IoT) devices
- Smart lighting
- Sensors
- Range extender
- Wireless audio
Specifications
- 2400MHz to 2483.5MHz RF frequency
- 13dBm saturated output power
- -40°C to +105°C operating temperature range
- -40°C to +125°C storage temperature range
- 1.7V to 3.6V supply voltage
- 13.5dB Rx gain
- 10dB Tx gain
SKY66405-11 Block Diagram
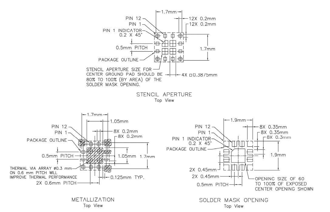
SKY66405-11 Mechanical Drawing
Publicado: 2019-11-11
| Actualizado: 2024-02-08
