ROHM Semiconductor BD41041FJ-C Automotive CAN Transceiver

ROHM Semiconductor BD41041FJ-C Automotive CAN Transceiver is a transceiver LSI for CAN communication (Fully ISO 11898-2:2016 compliant). It is equipped with circuitry that functions as transmitter and receiver, necessary for High-speed CAN communication (up to 1Mbps). The ROHM Semiconductor BD41041FJ-C is AEC-Q100 qualified, has a transmission rate of 40kbps to 1Mbps, and has power-saving mode correspondence.

Features

  • AEC-Q100 qualified
  • A transmission rate of 40kbps to 1Mbps
  • Power saving mode correspondence
  • SPLIT voltage output for stabilizing recessive bus level
  • Under-voltage detection function
  • Thermal Shutdown (TSD) function
  • TXD dominant time-out function (normal mode)
  • CAN bus dominant time-out function (standby mode)
  • Bus wake-up capability

Specifications

  • 4.75V to 5.25V recommended operating voltage range
  • -0.3V to +7.0V VCC, TXD, RXD, STB absolute maximum rating
  • -27V to +40V CANH, CANL, SPLIT absolute maximum rating 

Applications

  • CAN Communication for Automotive Networks

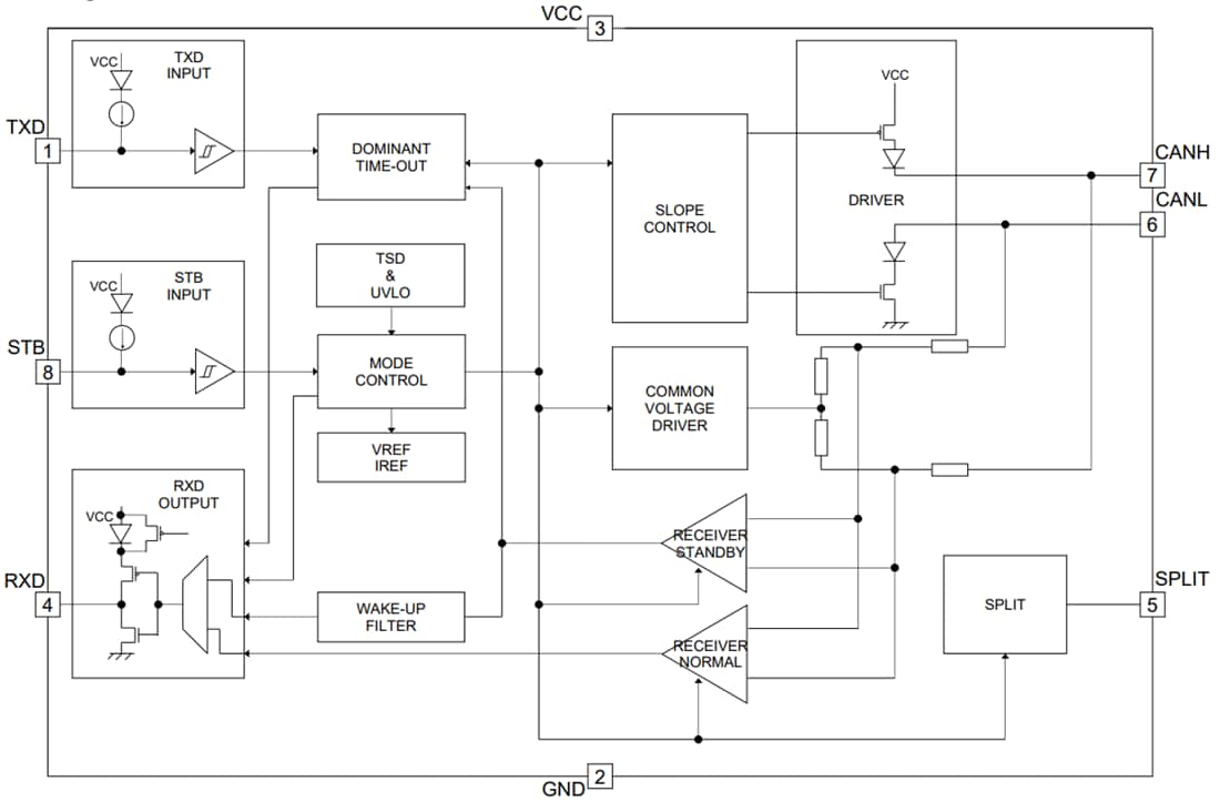
Block Diagram

Block Diagram - ROHM Semiconductor BD41041FJ-C Automotive CAN Transceiver
Publicado: 2022-05-27 | Actualizado: 2022-05-31