Renesas Electronics RC190xxA PCIe Gen5/6 Clock Buffers & Multiplexers

Renesas Electronics RC190xxA PCIe Gen5/6 Clock Buffers and Multiplexers features an ultra-low additive jitter and an integrated source-terminated 85Ω or 100Ω that saves up to 96 external resistors for 24-ch buffer variant. The high-speed serial interface (SBI) supports output enable and device daisy-chaining. System security on the RC190xxA is ensured with SMBus write protection.

The Renesas RC190xxA PCIe Gen5/6 Clock Buffers and Multiplexers offer an extended operating temperature in a small package.

Features

  • Low additive phase jitter
    • 6fs RMS PCIe Gen5 additive phase jitter
    • 4fs RMS PCIe Gen6 additive phase jitter
  • <1.5ns maximum in-out propagation delay
  • Power Down Tolerant (PDT) input and Flexible Startup Sequencing (FSS)
  • Automatic Clock Parking (ACP)
  • Selectable output slew rate via pin or SMBus
    • 4-wire Side-Band Interface
    • 9 selectable SMBus addresses
    • SMBus write protection
  • 85Ω or 100Ω output impedance product options
  • -40 to +105°C, 3.3V±10% operation

Applications

  • Cloud/High-performance Computing
  • nVME Storage
  • Networking
  • Accelerators
  • Computing
  • Industrial

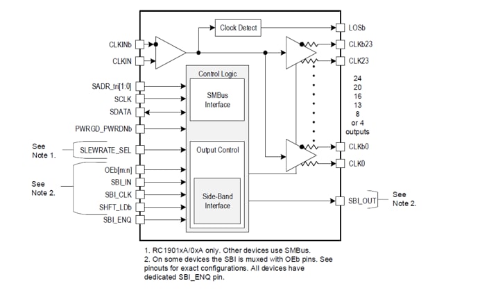
Block Diagram

Block Diagram - Renesas Electronics RC190xxA PCIe Gen5/6 Clock Buffers & Multiplexers
Publicado: 2022-01-24 | Actualizado: 2022-07-21