Power Integrations SID11xxKQ SCALE-iDrivers

Power Integrations SID11xxKQ SCALE-iDrivers are 8A single-channel gate drivers which provide reinforced galvanic isolation for automotive applications. These drivers offer an 8A peak output drive current that drives IGBTs and MOSFETs up to 600A without any additional active components. Power Integrations SID11xxKQ SCALE-iDrivers provide stable positive and negative gate control voltage by one unipolar isolated voltage source. These drivers use integrated Fluxlink™ technology for safe isolation between the primary side and the secondary side. SID11xxKQ SCALE-iDrivers are suitable for 600V/650V/1200V IGBT and MOSFET switches.

The SID11xxKQ SCALE-iDrivers feature short-circuit protection with advanced soft shut down, under voltage lock-out, and rail-to-rail stabilized output voltage. These drivers are available in eSOP halogen-free package with 9.5mm creepage and clearance. The SCALE-iDrivers exhibit low propagation delay time, high common mode transient immunity, and offers up to 75KHz switching frequency.  Typical applications include electric vehicle power train, electric vehicle onboard chargers and charger stations, and high-reliability drivers and inverters.

Features

  • Highly integrated and compact footprint
    • Integrated Fluxlink technology 
    • Rail-to-rail stabilized output voltage
    • Unipolar supply voltage for secondary-side
    • High common-mode transient immunity
  • Advanced protection and safety
    • UVLO protection for primary and secondary-side and fault feedback
    • Short-circuit protection using VCESAT monitoring and fault feedback
  • Full Safety and regulatory compliance
    • 100% production partial discharge test
    • Reinforced insulation meets VDE 0884-10
  • Halogen-free and RoHS compliant

Applications

  • Electric vehicle power train
  • Electric vehicle onboard chargers and charger stations
  • High-reliability drivers and inverters

Specifications

  • Up to 8A peak drive current
  • -40°C to +125°C operating ambient temperature
  • Split outputs providing up to 8 A peak drive current
  • Suitable for 600V/650V/1200V IGBT and MOSFET switches
  • Provides basic isolation up to 1200V blocking voltage
  • Up to 75kHz switching frequency
  • 260ns propagation delay time 
  • ±5ns propagation delay jitter 
  • eSOP package with 9.5mm creepage and clearance

Typical Application Schematic

Schematic - Power Integrations SID11xxKQ SCALE-iDrivers

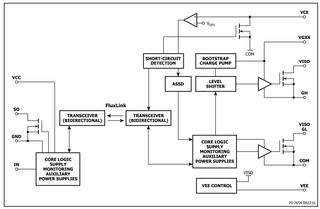
Functional Block Diagram

Block Diagram - Power Integrations SID11xxKQ SCALE-iDrivers
Publicado: 2018-08-01 | Actualizado: 2022-10-20