onsemi NCP3064 Buck Boost Inverting Switching Regulators
onsemi NCP3064 Buck Boost Inverting Switching Regulators consist of an internal temperature compensated reference, comparator, controlled duty cycle oscillator with an active current limit circuit, driver, and high current output switch. The onsemi NCP3064 series is designed to be incorporated in step-down, step-up, and voltage-inverting applications with a minimum number of external components. The ON/OFF feature puts the device into a low power (<100μA) standby state. NCP3064 regulators are a higher frequency upgrade to the popular MC33063A and MC34063A monolithic DC-DC hysteretic converters.Features
- 3.0V to 40V input voltage range
- Logic-level shutdown capability
- Low power standby mode, 100A typical
- Up to 1.5A output switch current
- Adjustable output voltage range
- 150kHz frequency operation
- Precision 1.5% reference
- Internal thermal shutdown protection
- SOIC-8, PDIP-8, or DFN8 package options
- Cycle-by-cycle current limiting
- Operating temperature ranges
- 0°C to +70°C for NCP3064
- -40°C to +125°C for NCP3064B
- NCV prefix for automotive and other applications requiring site and control changes
- Moisture Sensitivity Level (MSL) 1
- Lead-free and RoHS-compliant
Applications
- Step-down, step-up, and inverting supply applications
- High power LED lighting
- Battery chargers
Pin Connections
Block Diagram
Typical Buck Application Circuit
Typical Buck Application Schematic
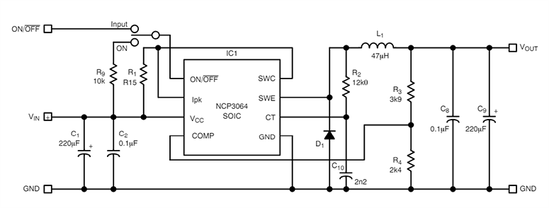
Typical Boost Application Schematic
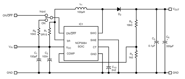
Typical Buck with External Transistor Application Schematic
Additional Resources
Publicado: 2024-05-20
| Actualizado: 2024-06-07
