NXP Semiconductors PCA85262 Automotive 32x4 LCD Driver

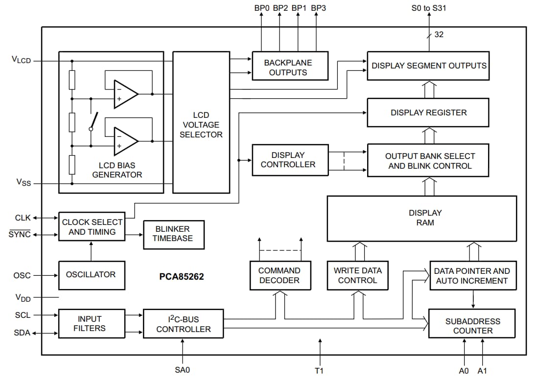
NXP PCA85262 Automotive 32x4 LCD Driver is a peripheral device that interfaces to almost any Liquid Crystal Display (LCD) with low multiplex rates. It generates the drive signals for any static or multiplexed LCD containing up to four backplanes and up to 32 segments. It can be easily cascaded for larger LCD applications. The NXP PCA85262 is compatible with most microcontrollers and communicates via the two-line bidirectional I2C-bus. Communication overheads are minimized by a display RAM with auto-incremented addressing, by hardware sub addressing, and by display memory switching (static and duplex drive modes).

Features

  • AEC-Q100 grade 2 compliant for automotive applications
  • Single-chip LCD controller and driver
  • Selectable backplane drive configuration (static, 2, 3, or 4 backplane multiplexing)
  • Selectable display bias configuration (static, 1/2, or 1/3)
  • Internal LCD bias generation with voltage-follower buffers
  • 32 segment drives
    • Up to 16 7-segment numeric characters
    • Up to 8 14-segment alphanumeric characters
    • Any graphics of up to 128 elements
  • 32x4-bit RAM for display data storage
  • Display memory bank switching in static and duplex drive modes
  • Versatile blinking modes
  • Independent supplies possible for LCD and logic voltages
  • 1.8V to 5.5V wide power supply range
  • Wide logic LCD supply range
    • From 2.5V for low-threshold LCDs
    • Up to 8.0V for guest-host LCDs and high-threshold twisted nematic LCDs
  • Low power consumption
  • Extended temperature range up to 105°C
  • 400kHz I2C-bus interface
  • No external components required
  • Manufactured in silicon gate CMOS process

Block Diagram

Block Diagram - NXP Semiconductors PCA85262 Automotive 32x4 LCD Driver
Publicado: 2015-04-28 | Actualizado: 2022-03-11