Microchip Technology 24CSM01 1Mbit Serial EEPROMs

Microchip Technology 24CSM01 1-Mbit Serial EEPROMs are capable of speeds up to 3.4MHz and operate from 1.7V to 5.5V voltage range. These serial EEPROMs allow up to eight devices to share a common I2C (two-wire) bus. The 24CSM01 EEPROMs are organized as 131,072 bytes of 8 bits each (128Kbytes) and optimized for consumer and industrial applications. These EEPROMs feature a 4Kbit security register and the first half is read-only. The security register contains a factory-programmed, ensured unique, and 128-bit serial number in the first 16 bytes.

The 24CSM01 EEPROMs contain a configuration register that allows write protection behavior and a read-only Error Correction State latch (ECS). These serial EEPROMs utilize a built-in Error Correction Code (ECC) scheme that can correct up to one incorrectly read bit within a four-byte readout. The 24CSM01 EEPROMs support the I2C manufacturer Identification (ID) command, which will return a unique value for the 24CSM01, allowing easy identification within the application. These serial devices are available in PDIP-8, SOIC-8, SOIJ-8, UDFN-8, TSSOP-8, MSOP-8, and WLCSP-8 packages.

Features

  • 1-Mbit EEPROM:
    • Internally organized as one 131,072 x 8-bit
    • Byte or page writes up to 256 bytes
    • Byte or sequential reads
    • Self-timed write cycle (5ms maximum)
  • High-speed I2C interface:
    • High-speed mode support for 3.4MHz
    • Industry-standard: 1MHz, 400kHz, and 100kHz
    • Output slope control to eliminate ground bounce
    • Schmitt trigger inputs for noise suppression
  • Security register:
    • Preprogrammed 128-bit serial number
    • User-programmable and lockable 256-byte ID page
  • Built-In Error Correction Code (ECC) Logic:
    • Error Correction State (ECS) latch via the configuration register
  • I2C manufacturer identification function support
  • Versatile data protection options:
    • Hardware Write-Protect (WP) pin for full array data protection
    • Enhanced software write protection via the configuration register
  • 1.7V to 5.5V operating voltage range
  • Low-Power CMOS technology:
    • Write current: 3mA maximum at 5.5V
    • Read current: 1mA maximum at 5.5V, 1MHz 
    • Standby current: 1µA at 5.5V (I-temp)
  • High reliability:
    • More than one million erase/write cycles
    • Build-in ECC logic for increased reliability
    • Data retention: >200 years
    • ESD protection: >4000V
  • Temperature ranges:
    • Industrial (I): -40°C to 85°C
    • Extended (E): -40°C to 125°C
  • Automotive AEC-Q100 qualified
  • RoHS Compliant

System Configuration Using Serial EEPROMs

Microchip Technology 24CSM01 1Mbit Serial EEPROMs

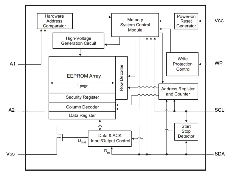
Block Diagram

Block Diagram - Microchip Technology 24CSM01 1Mbit Serial EEPROMs
Publicado: 2024-01-30 | Actualizado: 2024-02-01