Microchip Technology 24CS512 3.4MHz I2C Serial EEPROMs

Microchip Technology 24CS512 3.4MHz I2C Serial EEPROMs provide 512Kbits of Serial EEPROM, utilizing an I2C (2-wire) serial interface. They have a 3.4MHz High-Speed mode capability. The devices are organized as 65,536 bytes of 8 bits each (64-Kbyte) and are optimized for use in consumer and industrial applications where reliable and dependable nonvolatile memory storage is essential. The24CS512 allows up to eight devices to share a common I2C (2-wire) bus and is capable of operation across a broad voltage range (1.7V to 5.5V).

Features

  • 512-Kbit EEPROM
    • Internally organized as one 65,536 x 8-bit block
    • Byte or page writes up to 128 bytes
    • Byte or sequential reads within a block
    • Self-timed write cycle (5 ms maximum)
  • High-Speed I2C Interface
    • High-Speed mode support for 3.4 MHz
    • Industry-standard: 1MHz, 400kHz, and 100kHz
    • Output slope control to eliminate ground bounce
    • Schmitt Trigger inputs for noise suppression
  • Security Register
    • Preprogrammed 128-bit serial number
    • User-programmable, lockable 128-byte ID page
  • Built-in Error Correction Code (ECC) Logic
    • ECC Status bit via the Configuration register
  • I2C Manufacturer Identification Function Support
  • Versatile Data Protection Options
    • Hardware Write-Protect (WP) pin for full array data protection
    • Enhanced software write protection via the Configuration register
  • Operating Voltage Range of 1.7V to 5.5V
  • Low-Power CMOS Technology
    • Write current 3.0mA maximum at 5.5V
    • Read current 1.0mA maximum at 5.5V, 1MHz
    • Standby current 1µA at 5.5V
  • High Reliability
    • More than one million erase/write cycles
    • Build-in ECC logic for increased reliability
    • Data retention: >200 years
    • ESD protection: >4000V
  • RoHS Compliant
  • Temperature Ranges
    • Industrial (I): -40°C to +85°C

System Configuration Using Serial EEPROMs

Microchip Technology 24CS512 3.4MHz I2C Serial EEPROMs

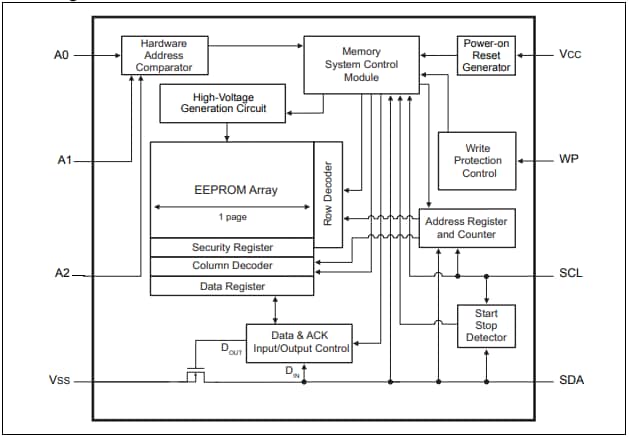
Block Diagram

Microchip Technology 24CS512 3.4MHz I2C Serial EEPROMs

Videos

Publicado: 2021-02-18 | Actualizado: 2022-03-11