Apex Microtechnology VRE204 Low Drift Precision Voltage Reference

Apex Microtechnology VRE204 Low Drift Precision Voltage Reference provides an ultrastable +4.5V output with up to ±0.8mV initial accuracy. The VRE204 also provides a 1.48ppm/°C temperature coefficient over the full military temperature range. These references are designed explicitly for successive-approximation type Analog-to-Digital Converters (ADCs). Specify an ADC with exceptional temperature drift, which can only be as good as the external reference that is used. The Apex Microtechnology VRE204 combined with a proper ADC will obtain the lowest drift data conversion. These devices are available in the -55°C to +125°C military operating temperature range and two performance grades. The devices are housed in a 20-terminal LCC ceramic package for maximum long-term stability. These "M" versions are screened for high reliability and quality.

Features

  • +4.5V output, ±0.8mV high accuracy 
  • 1.48ppm/°C (-55°C to +125°C) low drift
  • 6ppm/1000 hours typical excellent stability
  • 6ppm/V typical excellent line regulation
  • ±13.5V to ±22.0V wide supply range
  • Military processing option

Applications

  • Precision A/D and D/A converters
  • Transducer excitation
  • Accurate comparator threshold reference
  • High-resolution servo systems
  • Digital voltmeters
  • High-precision test and measurement instruments

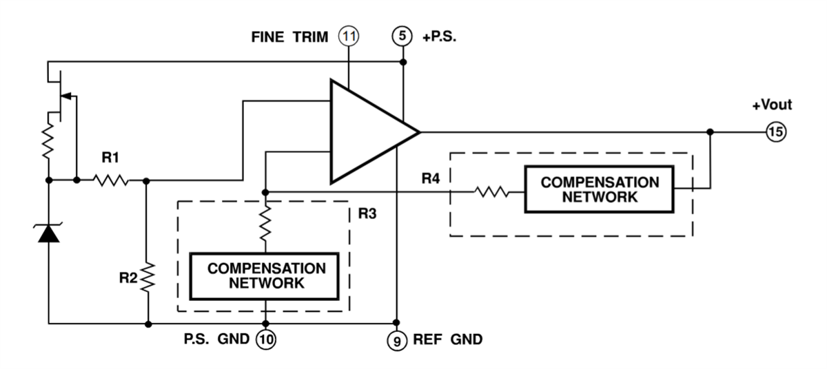
BLOCK DIAGRAM

Apex Microtechnology VRE204 Low Drift Precision Voltage Reference
Publicado: 2020-08-24 | Actualizado: 2024-04-09