Analog Devices / Maxim Integrated MAX31850/51 Thermocouple to Digital Converters

Analog Devices MAX31850/MAX31851 Thermocouple to Digital Converters are accurate thermocouple-to-digital converter ICs that ease design effort and lower system cost. The 1-wire interface simplifies multi-thermocouple systems with minimal wiring. Each device has a unique 64-bit serial code stored in an on-board ROM. They also feature four pin-programmable bits to identify up to 16 sensor locations on a bus uniquely. MAX31850/MAX31851 simplify system fault management and troubleshooting by detecting thermocouple shorts to GND or VCC. These devices also detect open thermocouples. Analog Devices MAX31850/MAX31851 Thermocouple to Digital Converters are ideal for various applications, including precision industrial thermal monitoring, medical equipment, solar equipment, automotive, and more.

Features

  • Ease and speed system design
    • Integrate all of the required functions of a discrete solution
      • ADC, precision amplifier, temperature sensor for cold-junction compensation, 1-wire communication interface
    • Versions available for several thermocouple types
      • K, J, N, T, and E (MAX31850)
      • S and R (MAX31851)
    • Highly accurate (±2.0°C) with no calibration required
  • Integrated solution lowers system cost over discrete solution
    • One IC versus four to five discrete components reduces board space requirements
  • Simplify system fault management and troubleshooting
    • Detects thermocouple shorts to GND or VCC
    • Detects open thermocouple
  • 1-Wire multidrop capability simplifies multisensor systems
    • Each device has a unique 64-bit serial code stored in an on-board ROM
    • 4 pin-programmable bits to uniquely identify up to 16 sensor locations on a bus
    • Minimizes wiring requirements

Applications

  • Precision industrial thermal monitoring
  • Medical equipment
  • HVAC/Appliances
  • Solar equipment
  • Automotive

Application Circuit

Analog Devices / Maxim Integrated MAX31850/51 Thermocouple to Digital Converters

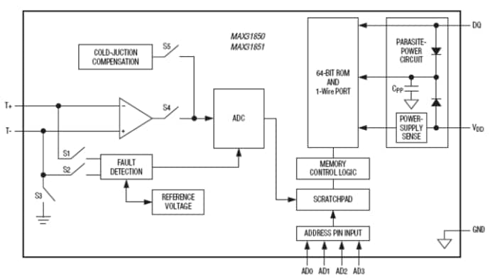
Block Diagram

Analog Devices / Maxim Integrated MAX31850/51 Thermocouple to Digital Converters

Videos

Publicado: 2013-03-05 | Actualizado: 2023-04-13