Analog Devices Inc. ADSP-21591/ADSP-21593 SHARC+ Dual-Core DSPs
Analog Devices Inc. ADSP-21591/ADSP-21593 SHARC+ Dual-Core DSPs are members of the single-instruction, multiple data (SIMD) SHARC family of digital signal processors (DSPs) that feature ADI Super Harvard Architecture. The ADSP-21591/ADSP-21593 DSPs are optimized for high-performance audio/floating-point applications with a large on-chip static random-access memory (SRAM), multiple internal buses that eliminate input/output (I/O) bottlenecks, and innovative digital audio interfaces (DAI). The devices are 32-bit, 40-bit, or 64-bit floating-point processors. Furthermore, the devices offer cache enhancements and branch prediction while maintaining instruction set compatibility with previous SHARC products.The ADI ADSP-21591/ADSP-21593 SHARC+ Dual-Core DSPs integrate a set of industry-leading system peripherals and memory, ideal for applications that require programmability similar to reduced instruction set computing (RISC), multimedia support, and leading-edge signal processing in one package. These applications traverse many markets, including automotive, professional audio, and industrial-based applications that require high floating-point performance.
Features
- System
- Dual-enhanced SHARC+ floating-point cores
- High-performance SHARC+ cores (up to 1GHz each)
- Up to 5Mb (640kB) L1 SRAM memory per core with parity (optional ability to configure as cache)
- 32-bit, 40-bit, and 64-bit floating-point support
- 32-bit fixed-point support
- Byte, short word, word, and long word addressability
- Arm Cortex-A5 core
- Up to 1GHz/1600DMIPS with NEON/VFPv4-D16
- 32kB L1 instruction and data caches with parity
- 256kB L2 cache with parity
- Powerful DMA system with 8 MemDMAs
- On-chip memory protection
- Integrated safety features
- 17mm × 17mm, 400-ball BGA_ED (0.8mm pitch), RoHS compliant
- Memory
- Large on-chip Level 2 (L2) SRAM with ECC protection, up to 2MB
- One Level 3 (L3) interface providing 16-bit interface to DDR3/ DDR3L SDRAM devices
- General
- ADSP-2156x pin-compatible package options
- Enhanced FIR and IIR accelerators running up to 1GHz
- Security and protection
- Cryptographic hardware accelerators
- Fast secure boot with IP protection
- Support for Arm TrustZone
Applications
- Automotive
- Audio amplifier
- Head unit
- ANC/RNC
- Rear-seat entertainment
- Digital cockpit
- ADAS
- Consumer
- AVRs
- Mixing consoles
- Microphone arrays
- Conferencing systems
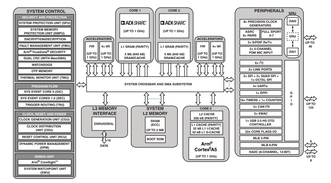
Full-Featured Model Processor Block Diagram
Arm Cortex-A5 Processor Block Diagram
SHARC Processor Block Diagram
Publicado: 2022-02-07
| Actualizado: 2025-10-01
