Analog Devices Inc. ADE9430 Power Quality Monitoring IC
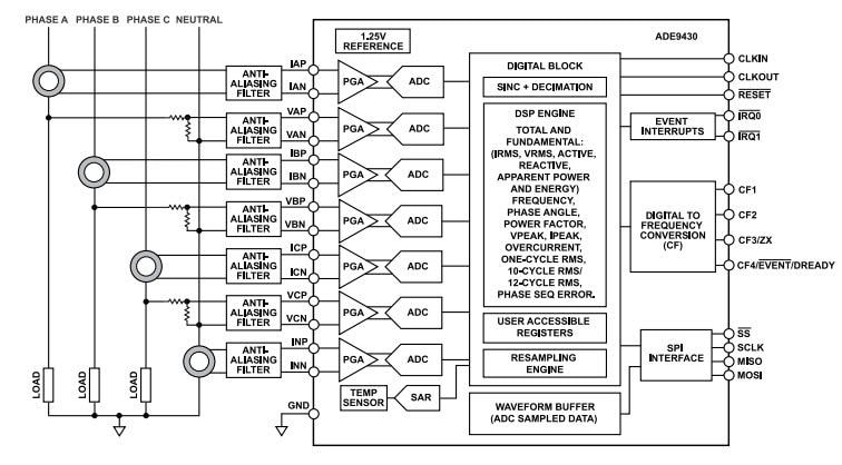
Analog Devices Inc. ADE9430 Power Quality Monitoring IC is a highly accurate, fully integrated polyphase energy and power quality monitoring device. The ADE9430 features superior analog performance and a digital signal processing (DSP) core that enables accurate energy monitoring over a wide dynamic range. An integrated high-end reference ensures low drift over temperature with a combined drift of less than ±25ppm/°C maximum for the entire channel. This includes a programmable gain amplifier (PGA) and an analog-to-digital converter (ADC).The ADE9430 simplifies the implementation and certification of energy and power quality monitoring systems by providing tight integration of acquisition and calculation engines. The integrated ADCs and DSP engine calculate various parameters and provide data through user-accessible registers or indicate events through interrupt pins. With seven dedicated ADC channels, the ADE9430 can be used on a 3-phase system or up to three single-phase systems. This device supports current transformers (CTs) or Rogowski coils when used with an external analog integrator for current measurements.
The ADE9430 power quality monitoring IC can be used to determine the amount of harmonics fed to a grid by inverter-based resources, including solar Photovoltaics, Energy Storage Solutions (ESS), and bidirectional EV chargers. By monitoring the disturbances on the grid, the solution allows better diagnostics on optimizing distributed energy resources that can be added to achieve a more reliable clean energy grid.
The Analog Devices Inc. ADE9430 Power Quality Monitoring IC is housed in a 40-lead lead frame chip scale package and is RoHS compliant.
Features
- 7 high-performance, 24-bit Σ-Δ ADCs
- 101dB SNR at eight kSPS with PGA = 1
- Wide input voltage range ±1V, 707 mV rms full scale at gain = 1
- Differential inputs
- ±25ppm/°C maximum channel drift (including ADC, internal VREF, PGA drift) enabling 10000:1 dynamic input range, Class 0.2 metrology with standard external components
- With the optional ADSW-PQ-CLS Power Quality Library, the complete IEC 61000-4-30 Class S power quality standard is implemented, including
- Power frequency 10-sec average
- Magnitude of the supply
- Dips and swells
- Interruptions
- Rapid voltage change
- Flicker
- Mains signaling voltage
- Underdeviation and over deviation
- Voltage and current
- Magnitude
- Harmonics
- Interharmonics
- Unbalance
- THD
- Waveform recording
- Optional ADSW-PQ-CLS Power Quality Library compatible with Arm® Cortex microcontrollers
- VRMS one-cycle and IRMS one-cycle refreshed each cycle
- VRMS and IRMS filtered and updated every sample
- 10 cycle rms/12 cycle rms
- Period registers to calculate line frequency, one per phase
- Zero-crossing and zero-crossing timeout
- Phase angle measurements
- Supports CTs
- Multipoint phase and gain compensations for CTs
- Rogowski coils with the addition of an external analog integrator
- Continuous resampled data available
- Waveform buffer
- Advanced metrology feature set
- Total and fundamental active power, volt-amperes reactive (VAR), volt-amperes (VA), watthour, VAR hour, and VA hour
- Total and fundamental IRMS and VRMS
- Power factor
- Supports active energy standards IEC 62053-21 and IEC 62053-22, EN50470-3, OIML R46, and ANSI C12.20
- Supports reactive energy standards IEC 62053-23 and IEC 62053-24
- High-speed communication port 20 MHz SPI
- Integrated temperature sensor with 12-bit successive approximation register (SAR) ADC
- ±3°C accuracy from −40°C to +85°C
- 6mm × 6mm × 0.75mm LFCSP-40 package with EPAD
Applications
- Energy and power monitoring
- Standards compliant power quality monitoring
- Protective devices
- Machine health
- Smart power distribution units
- Polyphase energy meters
Videos
Block Diagram
