Analog Devices Inc. AD9083 Analog-to-Digital Converter

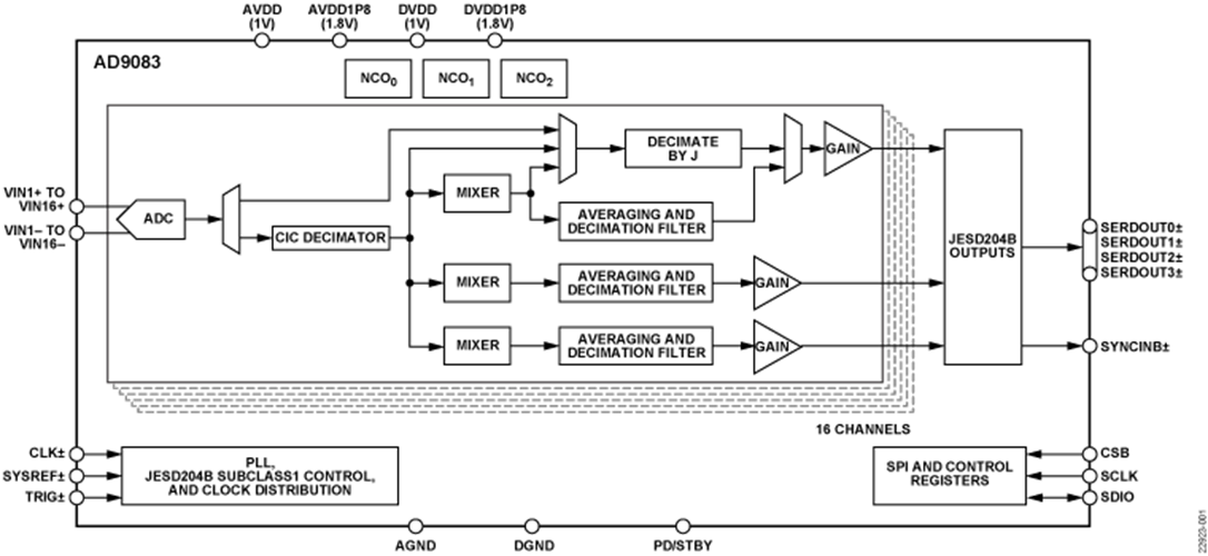
Analog Devices Inc. AD9083 Analog-to-Digital Converter is a 16-channel, 125MHz bandwidth, continuous-time Σ-Δ (CTSD) ADC. The AD9083 features an on-chip, programmable, single-pole antialiasing filter and termination resistor. It's designed for low power, small size, and ease of use. The 16 ADC cores features a first-order, CTSD modulator architecture with integrated, background nonlinearity correction logic and self-canceling dither. Each ADC features wide bandwidth inputs supporting a variety of user-selectable input ranges. An integrated voltage reference eases design considerations.

Features

  • 1.0V and 1.8V supply operation
  • 125MHz usable analog input bandwidth
  • Sample rate up to 2 GSPS
  • Noise spectral density in 100 MHz bandwidth = −145dBFS/Hz, 2.0 GSPS encode
  • SNR = 66dBFS in 100MHz bandwidth, 2.0 GSPS encode
  • SNR = 82dBFS in 15.625MHz bandwidth, 2.0 GSPS encode
  • SFDR = 60dBc in 100MHz bandwidth, 2.0 GSPS encode
  • SFDR = 80dBc in 15.625MHz bandwidth, 2.0 GSPS encode
  • Large signal dither
  • 90mW total power per channel at 2.0 GSPS (default settings), 35mW power per channel (min)
  • 0.5V p-p to 2V p-p Differential flexible input range
  • 90dB channel crosstalk, 2.0 GSPS encode
  • Digital processor
    • CIC decimation filter
    • Programmable DDC
    • Data gating
  • JESD204B subclass 1 encoded outputs
    • Supports up to 16Gbps/lane
    • Flexible sample data processing
    • Flexible JESD204B lane configurations
  • Serial port control

Applications

  • Millimeter wave imaging
  • Electronic beam forming and phased arrays
  • Multichannel wideband receivers
  • Electronic support measures

Block Diagram

Block Diagram - Analog Devices Inc. AD9083 Analog-to-Digital Converter

Enhancing Next-Generation Millimeter Wave Scanners with Edge Processing Technology

Discover how mmWave technology surpasses traditional metal detectors and how a chipset with efficient data management through edge processing enables the development of advanced walkthrough security scanning systems.

Learn more

Publicado: 2021-01-27 | Actualizado: 2023-04-17